|
U.S. Patent 11,460,951 Transmitting And Receiving System And Method For Bidirectional Orthogonal Signaling Sensors (with Darren Leigh) |
|
U.S. Patent 11,328,211 Delimitation in unsupervised classification of gestures (with Jota Costa) |
|
U.S. Patent 11,112,905 Vehicular Components Comprising Sensors (with Robert Alack, Darren Leigh, Braon Moseley, and Adam Landa) |
|
U.S. Patent 11,068,105 System and method for performing hit testing in a graphical user interface (with Bruno Rodrigues De Araujo, Jonathan Deber, Ricardo Costa, and Daniel Wigdor) |
|
U.S. Patent 11,029,843 Touch sensitive keyboard (with David Holman, Stephen Dennis, Ricardo Costa, Steven Sanders, Clark Wilkinson, Braon Moseley, and Bruno De Araujo) |
|
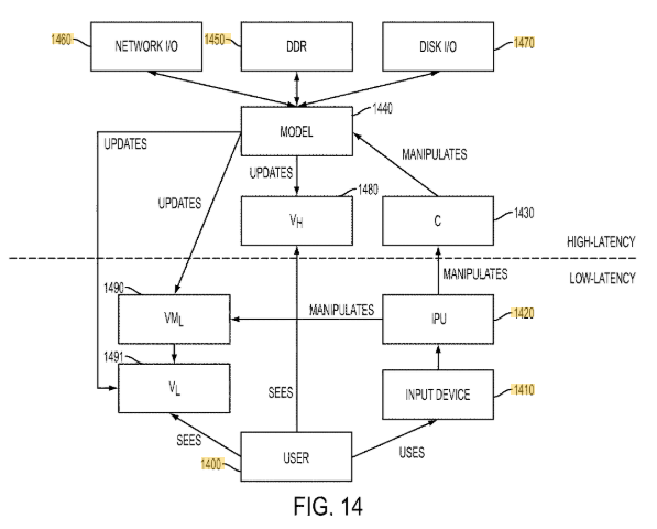
U.S. Patent 11,009,994 System and method for timing input sensing, rendering, and display to minimize latency (with Bruno Rodrigues De Araujo and Ricardo Costa) |
|
U.S. Patent 10,969,875 Toroidal Sensor (with Darren Leigh, Braon Moseley, Robert Alack, Jr., and Adam Landa) |
|
U.S. Patent 10,871,855 Area filtering for low-latency and high-latency input event paths from a single touch sensor (with Bruno Rodrigues De Araujo, Ricardo Costa, and Steven Sanders) |
|
U.S. Patent 10,845,897 Touch Surfaces using Stylus and Touch |
|
U.S. Patent 10,712,880 Signal infusion to enhance appendage detection and characterization (with Darren Leigh, Braon Moseley, and Robert Alack, Jr.) |
|
U.S. Patent 10,691,279 Dynamic assignment of possible channels in a touch sensor (with Darren Leigh, Daniel Wigdor, and Steven Sanders) |
|
U.S. Patent 10,691,251 Orthogonal signaling touch user, hand and object discrimination systems and methods (with Darren Leigh, Ricardo Costa, Daniel Wigdor, and Steven Sanders) |
|
U.S. Patent 10,620,746 Decimation supplementation strategies for input event processing (with Ricardo Costa, Daniel Wigdor, Steven Sanders, and Bruno De Araujo) |
|
U.S. Patent 10,620,737 Differential transmission for reduction of cross-talk in projective capacitive touch sensors (with Darren Leigh) |
|
U.S. Patent 10,592,050 Systems and methods for using hover information to predict touch locations and reduce or eliminate touchdown latency (with Ricardo Costa, Daniel Wigdor, Karan Singh, and Haijun Xia) |
|
U.S. Patent 10,572,088 Vehicular components comprising sensors (with Rob Alack, Darren Leigh, Braon Moseley, and Adam Landa) |
|
U.S. Patent 10,572,036 Transmitting and receiving system and method for bidirectional orthogonal signaling sensors (with Darren Leigh) |
|
U.S. Patent 10,558,293 Pressure informed decimation strategies for input event processing (with Daniel Wigdor) |
|
U.S. Patent 10,551,985 Fast multi-touch noise reduction (with Darren Leigh, Daniel Wigdor, and Steven Sanders) |
|
U.S. Patent 10,528,201 Toroidal sensor (with Darren Leigh, Braon Moseley, Rob Alack, and Adam Landa) |
|
U.S. Patent 10,423,273 Differential transmission for reduction of cross-talk in projective capacitive touch sensors (with Darren Leigh) |
|
U.S. Patent 10,289,256 Dynamic assignment of possible channels in a touch sensor (with Darren Leigh, Daniel Wigdor, and Steven Sanders) |
|
U.S. Patent 10,241,760 System and method for performing hit testing in a graphical user interface (with Bruno De Araujo, Jonathan Deber, Ricardo Costa, and Daniel Wigdor) |
|
U.S. Patent 10,241,620 Area filtering for low-latency and high-latency input event paths from a single touch sensor (with Bruno De Araujo, Ricardo Costa, and Steven Sanders) |
|
U.S. Patent 10,241,612 Decimation supplementation strategies for input event processing (with Ricardo Costa, Daniel Wigdor, Steven Sanders, and Bruno De Araujo) |
|
U.S. Patent 10,222,952 Hybrid systems and methods for low-latency user input processing and feedback (with Daniel Wigdor, Steven Sanders, and Ricardo Costa) |
|
U.S. Patent 10,216,602 Tool to measure the latency of touchscreen devices (with Jonathan Deber, Bruno De Araujo, Ricardo Costa, Darren Leigh, Steven Sanders, and Daniel Wigdor) |
|
U.S. Patent 10,191,579 Transmitting and receiving system and method for bidirectional orthogonal signaling sensors (with Darren Leigh) |
|
U.S. Patent 10,168,849 Fast multi-touch noise reduction (with Darren Leigh, Daniel Wigdor, and Steven Sanders) |
|
U.S. Patent 10,133,400 Pressure informed decimation strategies for input event processing (with Daniel Wigdor) |
|
U.S. Patent 10,088,952 Systems and methods for using hover information to predict touch locations and reduce or eliminate touchdown latency (with Ricardo Costa, Daniel Wigdor, Karan Singh, and Haijun Xia) |
|
U.S. Patent 10,019,125 Fast multi-touch noise reduction (with Darren Leigh, Daniel Wigdor, and Steven Sanders) |
|
U.S. Patent 9,990,696 Decimation strategies for input event processing (with Ricardo Costa, Daniel Wigdor, Steven Sanders, and Bruno De Araujo) |
|
U.S. Patent 9,971,443 System and method for timing input sensing, rendering, and display to minimize latency (with Bruno De Araujo and Ricardo Costa) |
|
U.S. Patent 9,946,398 System and method for timing input sensing, rendering, and display to minimize latency (with Bruno De Araujo and Ricardo Costa) |
|
U.S. Patent 9,933,880 Orthogonal signaling touch user, hand and object discrimination systems and methods (with Darren Leigh, Ricardo Costa, Daniel Wigdor, and Steven Sanders) |
|
U.S. Patent 9,927,959 Hybrid systems and methods for low-latency user input processing and feedback (with Daniel Wigdor, Steven Sanders, and Ricardo Costa) |
|
U.S. Patent 9,846,920 Decimation strategies for input event processing (with Ricardo Costa, Daniel Wigdor, and Steven Sanders) |
|
U.S. Patent 9,841,839 System for Measuring Latency on a Touch Device (with Darren Leigh, Daniel Wigdor, and Steven Sanders) |
|
U.S. Patent 9,836,313 Low-latency visual response to input via pre-generation of alternative graphical representations of application elements and input handling on a graphical processing unit (with Daniel Wigdor, Steven Sanders, and Ricardo Costa) |
|
U.S. Patent 9,830,014 Reducing control response latency with defined cross-control behavior (with Benjamin McCanny and Daniel Wigdor) |
|
U.S. Patent 9,811,214 Fast multi-touch noise reduction (with Darren Leigh, Daniel Wigdor, and Steven Sanders) |
|
U.S. Patent 9,710,116 Frequency conversion in a touch sensor (with Darren Leigh, Daniel Wigdor, and Steven Sanders) |
|
U.S. Patent 9,632,615 Reducing control response latency with defined cross-control behavior (with Benjamin McCanny and Daniel Wigdor) |
|
U.S. Patent 9,507,500 Hybrid systems and methods for low-latency user input processing and feedback (with Daniel Wigdor, Steven Sanders, and Ricardo Costa) |
|
U.S. Patent 7,773,099 Context aware image conversion method and playback system (with Anthony Vetro) |
|
U.S. Patent 7,640,518 Method and system for switching between absolute and relative pointing with direct input devices (with Ravin Balakrishnan) |
|
U.S. Patent 7,526,725 Context aware video conversion method and playback system |
|
U.S. Patent 7,486,274 Method for stabilizing and precisely locating pointers generated by handheld direct pointing devices (with Ravin Balakrishnan ) |
|
U.S. Patent 7,441,202 Spatial multiplexing to mediate direct-touch input on large displays (with Chia Shen, Kate Everitt, and Kathy Ryall ) |
|
U.S. Patent 7,327,376 Multi-user collaborative graphical user interfaces (with Chia Shen and Frederic Vernier) |
|
U.S. Patent 7,292,269 Context aware projector (with Ramesh Raskar and Paul Beardsley) |
|
U.S. Patent 7,179,171 Fish breeding toy for cellular telephones (with Joseph Marks) |
|
U.S. Patent 7,139,006 System and method for presenting and browsing images serially (with Alan Esenther, Thomas Lanning, and Kent Wittenburg) |
|
U.S. Patent 6,764,185 Projector as an Input and Output Device (with Paul Beardsley, Dirk Brinkman, and Ramesh Raskar) |